Geberit Doppelanschlussdose PushFit DN 15/15/12, Ø 20/16 mm, 90Grad, mit Schnellkupplung
W877734
4025410948038
652485003
auf Anfrage
je 1 STCK
keine Verfügbarkeitsinformationen
Funktionen
Verkaufsdaten
| Mindestbestellmenge | 1 STCK |
| Bestellschritt | 1 STCK |
Beschreibung
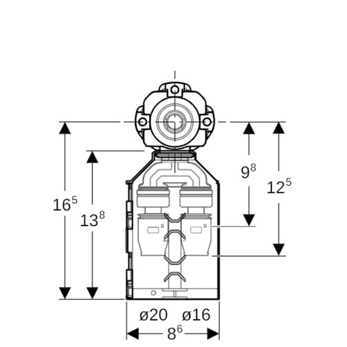
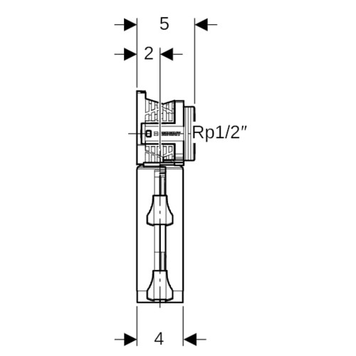
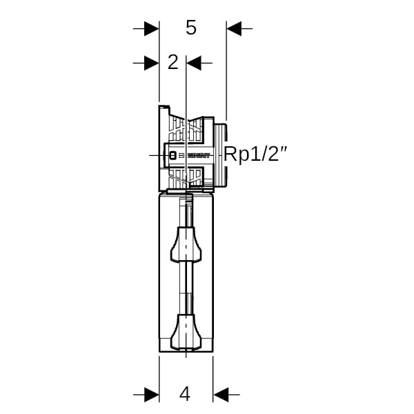
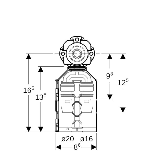
Rp 1/2, 5 cm, für Systemrohr PB mit Schutzrohr, für Trinkwasser, Anschlusswinkel aus Rotguss, Steckindikator grün, O-Ring aus EPDM, schallgedämmt, Dosenkopf mit Außengewinde für Bauschutz rund, Steckverbinder mit transparenter Schutzkappe, nicht ausziehbar über Dosenkopf, drei Befestigungspunkte
Merkmale
| Produktklasse | Wandscheibe |
| Serie | PushFit |
| Internet Link | https://catalog.geberit.de/de-DE/652.485.00.3.html |
| Werkstoff | Bronze |
| Oberflächenschutz | unbehandelt |
| Nenndurchmesser Anschluss 1 | DN 15 |
| Nenndurchmesser Anschluss 2 | 1/2 Zoll |
| Werkstoffgüte | CuSn5Zn5Pb2 |
| UBA-Positivliste | ja |
| Größe | DN 15/15/12 |
| Form | rechtwinklig |
| Rohraußendurchmesser Anschluss 1 | 20 mm |
| Gewindemaß Armatur | 1/2 Zoll |
| Systemgebunden | ja |
| Mediumtemperatur (Dauerbetrieb) | 0 - 70 °C |
Anhänge
Varianten
Geberit Doppelanschlussdose PushFit DN 12/15/12, Ø 16/16 mm, 90Grad, mit Schnellkupplung W877617
keine Verfügbarkeitsinformationen
auf Anfrage
je 1 STCK
|
||
Geberit Doppelanschlussdose PushFit DN 15/15/12, Ø 20/16 mm, 90Grad, mit Schnellkupplung W877734
keine Verfügbarkeitsinformationen
auf Anfrage
je 1 STCK
|